ট্রান্সফর্মারের অভ্যন্তরে তেলের তাপমাত্রা এবং বাতাসের তাপমাত্রা অন্তরক উপকরণগুলির কর্মক্ষমতা এবং পরিষেবা জীবনকে প্রভাবিত করে, যার ফলে ট্রান্সফর্মারের জীবনকালকে প্রভাবিত করে এবং এমনকি সরাসরি ত্রুটি সৃষ্টি করে। সুতরাং, ট্রান্সফর্মারের আসল - সময় অভ্যন্তরীণ তাপমাত্রা পর্যবেক্ষণ করা প্রয়োজন। তাপমাত্রা পরিমাপের নীতি অনুসারে, তিন ধরণের থার্মোমিটার রয়েছে: 1। বুধের থার্মোমিটার; 2। চাপ থার্মোমিটার; 3। প্ল্যাটিনাম প্রতিরোধের থার্মোমিটার। পরিমাপ করা তাপমাত্রা নিম্নলিখিত উপায়ে ব্যবহার করা যেতে পারে: 1। পয়েন্টারের মাধ্যমে বাস্তব - সময় প্রদর্শন করতে প্রধান বডি মিটারে প্রেরণ করা; 2। কুলারটি নিয়ন্ত্রণ করুন এবং মিটারের সহায়ক পরিচিতিগুলির মাধ্যমে অ্যালার্ম সংকেতগুলি প্রেরণ করুন; 3। অ্যানালগের পরিমাণটি পর্যবেক্ষণের পটভূমিতে তাপমাত্রা প্রদর্শন করতে পরিমাপ এবং নিয়ন্ত্রণ ডিভাইসে প্রেরণ করা হয়। অপারেশন এবং রক্ষণাবেক্ষণ কর্মীরা প্রস্তুতকারকের নির্দেশিকা ম্যানুয়াল এবং বিধি অনুসারে অস্বাভাবিক তাপমাত্রার শর্তগুলি পরিচালনা করবে। বড় ট্রান্সফর্মারগুলির অভ্যন্তরে উচ্চ ভোল্টেজ এবং শক্তিশালী চৌম্বকীয় ক্ষেত্রের কারণে, "চাপ থার্মোমিটার" (নীতি 2) সাধারণত গৃহীত হয়। ট্রান্সফর্মারগুলির জন্য দুটি ধরণের তাপমাত্রা নিয়ামক রয়েছে: তেল পৃষ্ঠের তাপমাত্রা নিয়ামক এবং উইন্ডিং তাপমাত্রা নিয়ামক, নীতিগতভাবে এবং কাঠামোর পার্থক্য সহ একটি দিক। এখন, আসুন সরাসরি বাতাসের তাপমাত্রা নিয়ামকটি পরিচয় করিয়ে দিন।
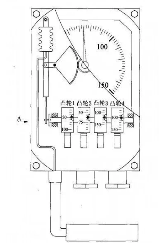
প্রথমে নীচের চিত্রটিতে প্রদর্শিত হিসাবে এর চেহারাটি জানতে পারি।

1। নীচে ধাতব পাইপ ফিটিং বেসটি এবং তাপমাত্রার বাল্বটি বেসের ভিতরে স্থাপন করা হয়। তাপমাত্রা বাল্বটিতে একটি তাপমাত্রা থাকে - সেন্সিং মিডিয়াম, যা উত্তপ্ত হয়ে গেলে প্রসারিত হয়। এই অংশটি প্রায় 150 মিমি গভীরতায় ট্রান্সফর্মারের উপরে তেলে in োকানো হয়।

2। পিছনে কয়েলযুক্ত বসন্তের পায়ের পাতার মোজাবিশেষে একটি কৈশিক নল রয়েছে যা প্রসারিত মাধ্যমটিকে মিটারে প্রেরণ করে।
প্রসারিত মাধ্যমটি স্থিতিস্থাপক উপাদানকে চালিত করে এবং পয়েন্টারটি সংক্রমণ ব্যবস্থার মাধ্যমে চালিত হয়। উপরের ডায়ালের সাদা পয়েন্টারটি আসল - সময় তাপমাত্রা প্রদর্শন করে।
3। ডায়াল সম্পর্কে অন্যান্য তথ্য রয়েছে: একটি লাল পয়েন্টার এবং চারটি রঙ - কোডেড সূচক ব্লক (লাল, নীল, সবুজ এবং হলুদ)। ক। যখন তাপমাত্রা বৃদ্ধি পায়, তখন সাদা পয়েন্টারটি লাল পয়েন্টারের অবস্থানে পরিণত হয় এবং তারপরে ডানদিকে ঘুরতে থাকে, এটি লাল পয়েন্টারটিকে একসাথে ডানদিকে ঘুরতে চালিত করবে। যখন তাপমাত্রা হ্রাস পায়, লাল পয়েন্টারটি সাদাটির সাথে ফিরে আসবে না, তাই লাল পয়েন্টারটি সাদা পয়েন্টারটি পৌঁছেছে এমন সর্বাধিক অবস্থান রেকর্ড করে। খ। চারটি রঙ - কোডেড পয়েন্টারগুলি সাধারণত খোলা (বা সাধারণত বন্ধ) সহায়ক পরিচিতিগুলির চারটি গ্রুপের সাথে মিলে যায় এবং সম্পর্কিত তাপমাত্রার মান হ'ল সহায়ক যোগাযোগের ক্রিয়া মান।


সহায়ক পরিচিতিগুলির কার্যগুলি ব্যবহারকারী দ্বারা নির্বাচিত হয়, প্রায় নিম্নলিখিত হিসাবে: কে 1। কুলার রিটার্ন তাপমাত্রা; কে 2। শীতল শুরু তাপমাত্রা; কে 3। উচ্চ তাপমাত্রার অ্যালার্ম; কে 4। উচ্চ তাপমাত্রা ট্রিপ। বেশিরভাগ নতুন মিটারে এখন সহায়ক পরিচিতিগুলির 6 টি গ্রুপ রয়েছে, ধূসর রঙের কে 5 এবং বেগুনি রঙের কে 6 রয়েছে, যা প্রয়োজন হিসাবে ব্যবহার করা যেতে পারে বা অতিরিক্ত হিসাবে রাখা যেতে পারে।
তবে উপরে পরিমাপ করা তাপমাত্রা এখনও তেলের তাপমাত্রা, যার উইন্ডিংগুলির সাথে কোনও সম্পর্ক নেই। যাইহোক, উইন্ডিংগুলির অবস্থান থার্মোমিটারের কাছে অ্যাক্সেসযোগ্য, সুতরাং একটি কার্যকারিতা গৃহীত হয়, যেখানে বাতাসের তাপমাত্রা নিয়ামক তেল পৃষ্ঠের তাপমাত্রা নিয়ামক থেকে পৃথক হয়।
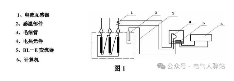
উপরেরটি নীতিটির একটি স্কিম্যাটিক ডায়াগ্রাম। বাম দিকে ট্রান্সফর্মারের উইন্ডিংগুলি কীভাবে সংযুক্ত থাকে তা নিয়ে আমাদের নিজেরাই উদ্বিগ্ন না। এখানে, উপাদান 1, 4 এবং 5 বিশেষ বৈশিষ্ট্য। এটিকে সহজভাবে বলতে গেলে, নীতিটি হ'ল 1-4-5 সার্কিটের লোড স্রোতকে তামা তাপমাত্রা বৃদ্ধিতে রূপান্তর করা এবং তারপরে বাতাসের তাপমাত্রা পাওয়ার জন্য এটি তেলের তাপমাত্রায় সুপারিপোজ করা।
1 হ'ল উচ্চ - ভোল্টেজ সাইড বুশিং সিটির গৌণ কয়েল। আউটপুট কারেন্টটি বর্তমান রূপান্তরকারী (5) দ্বারা একটি নির্দিষ্ট পদ্ধতি ব্যবহার করে উপযুক্ত কারেন্টে রূপান্তরিত হয় (যেহেতু রূপান্তর অনুপাত ইত্যাদির পার্থক্যের কারণে গৌণ স্রোতগুলি নির্মাতাদের মধ্যে পরিবর্তিত হয়, বর্তমান রূপান্তর প্রয়োজনীয়। রূপান্তরিত বর্তমান বৈদ্যুতিক হিটিং উপাদান (4) এর মধ্য দিয়ে যায় এবং উত্পন্ন তাপটি স্থিতিস্থাপক উপাদানগুলির স্থানচ্যুতি বৃদ্ধি করে, যার ফলে উচ্চতর নির্দেশিত তাপমাত্রা হয়, ফলে বাতাসের তাপমাত্রা প্রতিফলিত হয়।
এখানে একটি তাপ সিমুলেশন পদ্ধতিও রয়েছে: রূপান্তরিত সিটি মাধ্যমিক স্রোত তাপমাত্রার বাল্বটি গরম করতে ব্যবহৃত হয়।
নেমপ্লেটটি দেখুন: মাধ্যমিকটি তাপমাত্রা পরিমাপের জন্য ব্যবহৃত হয়।
এর আগে, আমরা তাপমাত্রা নিয়ামক সম্পর্কে কথা বললাম। যেহেতু আরও কিছু আসার আছে, তাই আমরা সেই সময় তাপমাত্রা নিয়ামকের তাপমাত্রা পয়েন্টারের উত্স ব্যাখ্যা করেছি। ট্রান্সফর্মার তেলের মধ্যে সন্নিবেশিত তাপমাত্রার বাল্বটি তেলের তাপমাত্রাকে সংবেদন করে এবং তাপমাত্রার বাল্বের স্থিতিস্থাপক মাধ্যমটি পয়েন্টারটিতে প্রসারণ প্রেরণ করে, যার ফলে তাপমাত্রা নির্দেশ করে। সেই সময়ে দুটি প্রশ্ন অমীমাংসিত রেখে দেওয়া হয়েছিল: প্রথমত, যেখানে বাতাসের তাপমাত্রা পরিমাপে সিটি কারেন্ট দ্বারা ঠিক উত্তপ্ত হয়; দ্বিতীয়ত, পর্যবেক্ষণের পটভূমিতে প্রদর্শিত ডিজিটাল তাপমাত্রা কীভাবে আসে। সাবধানতার সাথে নির্দেশাবলী অধ্যয়ন এবং মিটার প্রস্তুতকারকের সাথে পরামর্শ করার পরে, আমরা উত্তরগুলি পেয়েছি। প্রথমত, সিটি কারেন্ট (বর্তমান ট্রান্সফর্মার দ্বারা রূপান্তরিত বর্তমান) ট্রান্সফর্মারে তাপমাত্রার বাল্বটি উত্তপ্ত করে। এই চিত্রটিতে দেখানো হয়েছে, 1 থেকে বর্তমান আউটপুটটি 5 এবং তারপরে তাপমাত্রার বাল্বটি গরম করার জন্য 2 এ ইনপুট রূপান্তরিত হয়।

নীচের চিত্রটি বিভ্রান্তিকর এবং প্রথমে বোঝা শক্ত ছিল, তবে এখন এটি বোধগম্য। ডানদিকে ড্যাশড বাক্সটি বাম দিকে তাপমাত্রার বেসের একটি বর্ধিত দৃশ্য হওয়া উচিত। লাল রেখার সাথে সংযুক্ত দুটি বাক্স আসলে একই উপাদান। এটি বুঝতে সহজ করে তোলে: তাপমাত্রার বেসের অভ্যন্তরে একটি তাপমাত্রা বাল্ব, একটি বৈদ্যুতিক গরম করার উপাদান (বাতাসের থার্মোমিটারের জন্য) এবং একটি পিটি 100 প্রতিরোধক রয়েছে।

অতএব, "তাপমাত্রা নিয়ামক 1" এর এই অনুচ্ছেদে বিবরণটি সঠিক নয়। এটি বলা যায় না যে আরও একটি তাপ সিমুলেশন পদ্ধতি রয়েছে। বেশ কয়েকটি মডেল গবেষণা করার পরে, দেখা যাচ্ছে যে সমস্ত উইন্ডিং তাপমাত্রা নিয়ন্ত্রকরা সিমুলেশন পদ্ধতিটি গ্রহণ করে।
"1 হ'ল উচ্চ -} ভোল্টেজ সাইড বুশিং সিটি এর গৌণ কয়েল। আউটপুট কারেন্টটি একটি নির্দিষ্ট পদ্ধতি অনুসারে 5 বর্তমান রূপান্তরকারী দ্বারা উপযুক্ত কারেন্টে রূপান্তরিত হয় একটি নির্দিষ্ট পদ্ধতি অনুসারে (যেহেতু মাধ্যমিক স্রোতগুলি বিভিন্ন উত্পাদনগুলির মধ্যে পরিবর্তিত হয় এবং বর্তমান রূপান্তরগুলির মধ্যে পরিবর্তিত হয় এবং 折算 বর্তমান রূপান্তরগুলির মাধ্যমে পৃথক হয়)। ইলাস্টিক উপাদান বাড়ানোর জন্য, যাতে নির্দেশিত তাপমাত্রাও বৃদ্ধি পায়, এইভাবে বাতাসের তাপমাত্রাও প্রতিফলিত করে: রূপান্তরিত সিটি মাধ্যমিক প্রবাহটি তাপমাত্রার বাল্বটি গরম করতে ব্যবহৃত হয়। "
দ্বিতীয় প্রশ্নটি হ'ল: ব্যাকগ্রাউন্ড পর্যবেক্ষণে প্রদর্শিত তাপমাত্রা কীভাবে আসে? আসুন প্রধান ট্রান্সফর্মার তাপমাত্রা পরিমাপ সার্কিট ডায়াগ্রামটি দেখুন।
থার্মোমিটার দুটি 4-20 এমএ বর্তমান সংকেত আউটপুট দেয়। এখানে পিটি 100 প্ল্যাটিনাম প্রতিরোধকের একটি সংক্ষিপ্ত পরিচিতি রয়েছে: "পিটি 100 একটি প্ল্যাটিনাম তাপ প্রতিরোধক যার প্রতিরোধের তাপমাত্রার সাথে পরিবর্তিত হয়। পিটি 100 এর '100' ইঙ্গিত দেয় যে এর প্রতিরোধের 0 ডিগ্রীতে 100 ওহম, এবং প্রায় 138.5 ওহম 100 ডিগ্রীতে।"
সমস্ত কন্ডাক্টরের প্রতিরোধের তাপমাত্রার সাথে পরিবর্তিত হয় তবে প্ল্যাটিনাম প্রতিরোধকের পরিবর্তন স্থিতিশীল এবং তাৎপর্যপূর্ণ। তাপমাত্রা পরিমাপের নীতিটি এই সংশ্লিষ্ট সম্পর্কটিকে একটি বক্ররেখা হিসাবে প্লট করে কাজ করে, তারপরে বক্ররেখার বিরুদ্ধে পরিমাপ করা প্রতিরোধের সাথে সম্পর্কিত তাপমাত্রা পরীক্ষা করে। এটি তাপমাত্রাকে প্রতিরোধের মধ্যে রূপান্তরিত করে, যেখানে প্রতিরোধের বর্তমান দ্বারা বিভক্ত ভোল্টেজের সমান। একটি কম্পিউটার পিটি 100 থেকে তাপমাত্রা পেতে বৈদ্যুতিক সংকেত প্রক্রিয়া করে।
অতএব, তাপমাত্রা বাল্বের প্ল্যাটিনাম প্রতিরোধকের কাছে একটি ডিসি ভোল্টেজ প্রয়োগ করা এবং বর্তমানকে আউটপুট করা হ'ল তাপমাত্রা ট্রান্সমিটারটি কীভাবে কাজ করে, যা নীচের চিত্রের লাল ফ্রেমের অংশ। (এটিই মূল নীতি; অনুশীলনে, তাপমাত্রা ট্রান্সমিটারগুলিতে শূন্য সমন্বয় এবং নির্ভুলতার জন্য ক্ষতিপূরণের জন্য সার্কিট রয়েছে, যা বিশদভাবে বোঝার দরকার নেই))
এটি সরাসরি পিটি 100 (নীল ফ্রেমের অংশ) আউটপুটও করতে পারে। আমার বোধগম্যতা হ'ল তাপমাত্রা নিয়ামক প্রতিরোধকের দুটি প্রান্তকে (ট্রান্সমিটারের প্রয়োজনীয়তা দূরীকরণ) নেতৃত্ব দেওয়ার জন্য দায়ী, এবং পরিমাপ সার্কিট গণনার জন্য নিজেই ভোল্টেজ প্রয়োগ করে।
কেন পিটি 100 এর তিনটি লিড রয়েছে, আমি অনলাইনে চেক করেছি এবং নিম্নলিখিত ব্যাখ্যাটি পেয়েছি (এই অংশটি al চ্ছিক পঠন): একটি পিটি 100 প্ল্যাটিনাম প্রতিরোধের সেন্সরের তিনটি সীসা রয়েছে, যা এ, বি, সি (বা কালো, লাল, হলুদ) দ্বারা প্রতিনিধিত্ব করা যেতে পারে। তিনটি লিডের মধ্যে নিয়মগুলি নিম্নরূপ: এ এবং বি বা এ এবং সি এর মধ্যে প্রতিরোধের ঘরের তাপমাত্রায় প্রায় 110 ওহম, যখন বি এবং সি এর মধ্যে প্রতিরোধ 0 ওহম হয় কারণ বি এবং সি সরাসরি অভ্যন্তরীণভাবে সংযুক্ত রয়েছে। নীতিগতভাবে, বি এবং সি এর মধ্যে কোনও পার্থক্য নেই সাধারণত, প্রদর্শন যন্ত্রগুলি একটি তিন - তারের সংযোগ পদ্ধতি সরবরাহ করে। পিটি 100 এর একটি প্রান্তে একটি সীসা রয়েছে এবং অন্য প্রান্তে দুটি সীসা রয়েছে, সমস্ত যন্ত্রের সাথে সংযুক্ত। ইন্সট্রুমেন্টটি অভ্যন্তরীণভাবে একটি সেতু সার্কিটের মাধ্যমে সীসা প্রতিরোধকে অফসেট করে।
একটি চূড়ান্ত নিয়ন্ত্রণ: মিটার দ্বারা প্রদর্শিত তাপমাত্রা এবং পর্যবেক্ষণের পটভূমিতে 5K এর বেশি পৃথক হবে না। সাইটে একাধিক থার্মোমিটার দ্বারা নির্দেশিত তাপমাত্রা, কন্ট্রোল রুমে তাপমাত্রা প্রদর্শন ডিভাইসগুলি, বা মনিটরিং সিস্টেমটি মূলত সামঞ্জস্যপূর্ণ হওয়া উচিত, 5 কে ছাড়িয়ে যাওয়ার ত্রুটি সহ।
সিটিএ বিভাগ (রূপান্তর হারের উন্নতি):
Now এখন দক্ষিণ আমেরিকা এবং আফ্রিকান বাজারগুলির জন্য একচেটিয়া সমাধান পান
ইমেল: jsm687254@gmail.com
হোয়াটসঅ্যাপের মাধ্যমে ইঞ্জিনিয়ারদের পরামর্শ করুন: +86 15706806907 (পণ্য ম্যানুয়াল পিডিএফের সাথে সংযুক্ত)
